Все материалы проекта здесь >> 
ОртОст-Фасад

Фасадная революция. 
Новые технологии от
«ОртОст-Фасад»

«ОртОст-Фасад» выполнила беспрецедентный по сложности фасад для главного храма вооруженных сил РФ

mainImg

Универсальная несущая система для фасада любой сложности

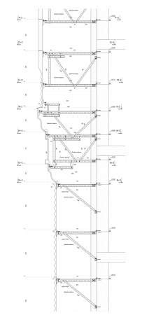
Для монтажа СФБ-облицовки из элементов сложной формы Главного храма Вооруженных сил РФ специалисты компании «ОртОст-Фасад» разработали необычную несущую подсистему с большими перспективами применения.

Реклама
show_relations = 1 orgsLink = Array misc_22 = 0 content_flow_id = 3 record_thematic_status = 2 t_news_block_1_publish = 1
Компaния:
представительство компании ОРТОСТ-ФАСАД на Архи.ру
Сайт:
ortost.ru


Контакты:
Тел.: +7 (499) 195-60-90
Храм Воскресения Христова в парке «ПАТРИОТ» Одинцовского района – главный храм вооруженных сил Российской Федерации и одновременно храм-памятник Великой отечественной войне – масштабное и сложное сооружение. Его высота с крестом почти 100 м, это почти как 30-этажный дом, а размах квадрифолия музея памяти войны, который окружает собор с трех сторон – около 500 м. Храм почти полностью, внутри и снаружи, покрыт орнаментами и фигуративными рельефами. Скульптуры выполнены в бронзе, часть интерьерных украшений – тоже металлическая. Но наибольшая, основная часть облицовки и декора стен, как храма, так и музея, выполнена из стеклофибробетонных панелей.

Храм был возведен в кратчайшие сроки. Срок строительства всего храма – полтора года, а облицовка была изготовлена и смонтирована за восемь месяцев (!). 

Компания «ОртОст-Фасад» отвечала за производство и монтаж всей многодельной облицовки храма, в частности, за облицовку главного и четырех малых барабанов, стилобатной части, хоров, апсиды и трех ярусов звонницы. Стеклофибробетонные детали выполнялись по традиционной технологии методом набрызга, формы для сложных элементов изготавливались более чем на шестидесяти станках с ЧПУ, а для монтажа инженерам компании пришлось придумать и спроектировать новую несущую подсистему.

Перед специалистами компании стояла уникальная и сложная задача. Кроме сложной геометрии деталей, сопряженных с орнаментальными элементами, кроме высокого ветрового давления, особую проблему представляли собой большие (до 3,5 м!) выносы облицовки от несущей конструкции (монолитный бетон с утеплителем). А значит, конструкцию надо было рассчитывать на значительные нагрузки. 

Для точного сопряжения сложной конфигурации облицовки требовалась возможность гибкой адаптации подсистемы и нивелирование любых отклонений в геометрии несущего основания без переделки несущих кронштейнов.

Также усложняли задачу ограниченное пространство монтажа из-за сложной конфигурации церкви, сопряжение с другими конструкциями, например светопрозрачными сводчатыми фонарями и витражами, и инженерными системами. Все традиционные системы крепления, которые применялись в этой области раньше, не подходили для решения подобных задач.
  • zooming
    1 / 6
    Главный храм ВС РФ
    Фотография: Юлия Тарабарина, Архи.ру
  • zooming
    2 / 6
    Главный храм Вооруженных сил РФ
    © предоставлено «ОРТОСТ-ФАСАД»
  • zooming
    3 / 6
    Главный храм Вооруженных сил РФ
    © предоставлено «ОРТОСТ-ФАСАД»
  • zooming
    4 / 6
    Главный храм Вооруженных сил РФ
    © предоставлено «ОРТОСТ-ФАСАД»
  • zooming
    5 / 6
    Главный храм Вооруженных сил РФ
    © предоставлено «ОРТОСТ-ФАСАД»
  • zooming
    6 / 6
    Главный храм Вооруженных сил РФ
    © предоставлено «ОРТОСТ-ФАСАД»

  • zooming
    1 / 8
    Главный храм ВС РФ
    © предоставлено «ОРТОСТ-ФАСАД»
  • zooming
    2 / 8
    Главный храм ВС РФ
    © предоставлено «ОРТОСТ-ФАСАД»
  • zooming
    3 / 8
    Главный храм ВС РФ
    © предоставлено «ОРТОСТ-ФАСАД»
  • zooming
    4 / 8
    Главный храм ВС РФ
    © предоставлено «ОРТОСТ-ФАСАД»
  • zooming
    5 / 8
    Главный храм ВС РФ
    © предоставлено «ОРТОСТ-ФАСАД»
  • zooming
    6 / 8
    Главный храм ВС РФ
    © предоставлено «ОРТОСТ-ФАСАД»
  • zooming
    7 / 8
    Главный храм ВС РФ
    © предоставлено «ОРТОСТ-ФАСАД»
  • zooming
    8 / 8
    Главный храм ВС РФ
    © предоставлено «ОРТОСТ-ФАСАД»

Для выполнения всего комплекса задач специалистами «ОртОст-Фасад» был проведен анализ существующих решений в этой области. Применение типовых кронштейнов и типовых монтажных схем сборки, которое распространено на фасадном рынке, обладает рядом существенных недостатков. Возможности адаптации таких подсистем под сложную архитектурную пластику фасада ограничены. Также для решения имеющихся задач не подходило применение индивидуальных сварных кронштейнов. Такие конструкции при имеющихся вылетах были бы слишком габаритными и тяжелыми. Монтаж их в условиях ограниченного монтажного пространства был бы невозможен. А необходимость нивелирования различных отклонений привела бы к значительным корректировкам кронштейнов на лесах, что отразилось бы на сроках монтажных работ.

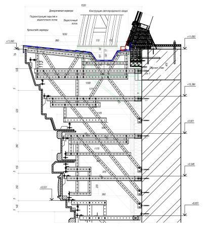
В результате специалисты «ОртОст-Фасад» фактически создали новый тип несущей подсистемы. В основе идеологии ее конструирования лежит отказ от типовых кронштейнов, что позволяет достичь максимального диапазона применения при минимальной металлоемкости. Основная характеристика подсистемы – это прочность и надежность. Конфигурация силовых элементов подсистемы выполняется в виде кронштейнов сквозного сечения и формируется исходя из геометрии фасада. Геометрия несущих кронштейнов максимально вписывается в геометрию элементов фасада, что позволяет применить кронштейны с максимально развитым сечением.
  • zooming
    1 / 4
    Главный храм ВС РФ
    © предоставлено «ОРТОСТ-ФАСАД»
  • zooming
    2 / 4
    Главный храм ВС РФ. Конструкция главного барабана
    © предоставлено «ОРТОСТ-ФАСАД»
  • zooming
    3 / 4
    Главный храм ВС РФ
    © предоставлено «ОРТОСТ-ФАСАД»
  • zooming
    4 / 4
    Главный храм ВС РФ
    © предоставлено «ОРТОСТ-ФАСАД»

Научно-исследовательским центром ЦНИИСК им. В.А.Кучеренко были проведены испытания системы на прочность, по их результатам получено соответствующее техническое заключение. В национальном исследовательском технологическом университете «МИСиС» были проведены исследования коррозийной стойкости и долговечности, показавшие защиту от коррозии элементов подсистемы на срок не менее 50 лет. Также испытательной лабораторией НИУ МГСУ были проведены испытания на пожаоную опасность образца навесной фасадной системы с каркасом из профилей из коррозионной стали с облицовкой стеклофибробетонными панелями. Результаты испытаний показали, что конструкция относится к классу пожарной опасности КО, что позволило не устанавливать дополнительные противопожарные отсечки.

Обладая максимальной надежностью, новая подсистема в то же время и максимально экономична. Это достигается за счет того, что широкие возможности в конструировании кронштейнов позволяют выбирать ту степень концентрации материала, которая необходима в конкретном месте. Например, сечение максимально развито на опорах, у несущей стены, где присутствует максимальный изгибающий момент, и постепенно уменьшается к периферийной части конструкции.
  • zooming
    1 / 5
    Главный храм ВС РФ
    © предоставлено «ОРТОСТ-ФАСАД»
  • zooming
    2 / 5
    Главный храм ВС РФ
    © предоставлено «ОРТОСТ-ФАСАД»
  • zooming
    3 / 5
    Главный храм ВС РФ. Угловые элементы звонницы. (вертикальное сечение)
    © предоставлено «ОРТОСТ-ФАСАД»
  • zooming
    4 / 5
    Главный храм ВС РФ
    © предоставлено «ОРТОСТ-ФАСАД»
  • zooming
    5 / 5
    Главный храм ВС РФ. Угловые элементы звонницы. (горизонтальное сечение)
    © предоставлено «ОРТОСТ-ФАСАД»
Еще одно очень важное, с точки зрения архитекторов, качество новой подсистемы – ее высокая адаптивность. Размещение на фасаде инженерных коммуникаций ведется порой без учета расположения несущих конструкций и иногда требует переделки рабочей документации. Возможность корректировать по месту расположение кронштейнов на 10-15 см позволяет избежать этих проблем. В результате монтаж происходит быстро и технологично.
zooming
Максим Павлов, главный инженер компании «ОртОст-Фасад», ГИП по устройству конструкции внешней облицовки храма Вооруженных сил России.
© предоставлено «ОРТОСТ-ФАСАД»

Главный инженер проекта Максим Павлов: «Важным преимуществом разработанной подсистемы по сравнению с другими решениями является возможность ее регулировки уже после монтажа несущих кронштейнов. Для установки элементов в проектное положение, особенно в условиях наличия стыковки с другими элементами по всему периметру, важна возможность регулировки положения детали в процессе монтажа. Отсутствие регулировки на практике почти всегда приводит к необходимости многочисленных корректировок уже смонтированных конструкций и замедляет монтаж. Конструкция разработанной несущей системы учитывает это и предусматривает возможность регулировки во всех направлениях за счет использования резьбовых шпилек и овальных отверстий. В подсистеме принцип индивидуальной конфигурации кронштейнов и сочетается с высокой степенью унификации и заводской готовности. Это достигается за счет формирования всех кронштейнов из одного сортамента комплектующих элементов, которые изготавливаются заранее на технологических линиях высокой производительности, что позволяет практически сразу приступить к монтажу и как результат дает значительный выигрыш в сроках монтажа. Сборка элементов несущей подсистемы осуществляется по разработанным стандартным узлам, в которых предусмотрены разные варианты их сопряжения и адаптации. Это позволяет быстро и качественно выполнить монтаж системы". Подробное интервью с Максимом Павловым о перспективах применения системы см. здесь.
  • zooming
    1 / 3
    Главный храм ВС РФ
    © предоставлено «ОРТОСТ-ФАСАД»
  • zooming
    2 / 3
    Главный храм ВС РФ. Венчающий карниз Стилобата. Сопряжение с нервюрами фонаря и воосточными лотками
    © предоставлено «ОРТОСТ-ФАСАД»
  • zooming
    3 / 3
    Главный храм ВС РФ.
    © предоставлено «ОРТОСТ-ФАСАД»

Поставщики, технологии

Технологии и материалы
Песчаные дюны на потолке
Дизайнерский тандем Armstrong DUNE Supreme TG 15/90 и подвесной системы КНАУФ Силуэт – создает современный атмосферный дизайн помещения при помощи нестандартной графики потолка.
Мегалиты на перспективу
В MIT разработали коллекцию бетонных элементов – они совмещают функции мебели и ограждающих конструкций. Объекты – несмотря на размеры и массу – можно легко перемещать и поворачивать, адаптируя пространство под меняющиеся потребности домовладельцев. Срок службы каждого из девяти предметов серии – 1000 лет.
Материализация образа
Технические новации иногда появляются благодаря воображению архитектора-визионера. Примером может служить интерьер Медиацентра в парке «Зарядье», в котором главным элементом стала фантастическая подвесная конструкция из уникального полимера. Об истории проекта Медиацентра мы поговорили с его автором Тимуром Башкаевым (АБТБ) и участником проекта, светодизайнером Софьей Кудряковой, директором по развитию QPRO.
Моллирование от Modern Glass: гибкость без ограничений
Технологии компании Modern Glass позволяют производить не просто гнутое стекло, а готовые стеклопакеты со сложной геометрией: сверхмалые радиусы, моллирование в двух плоскостях, длина дуги до 7 м – всё это стало возможно выполнить на одном производстве. Максимальная высота моллированных изделий достигает 18 м, благодаря чему можно создавать цельные фасадные поверхности высотой в несколько этажей без горизонтальных стыковочных швов, а также реализовывать сложные комбинированные решения в рамках одного проекта.
Cool Colours: цвет в структуре
Благодаря технологии коэкструзии, используемой в системах Melke Cool Colours, насыщенный цвет оконного профиля перестал вызывать опасения в долговечности конструкции. Работать с темными и фактурными оттенками можно без риска термической деформации и отслаивания.
Быстро, дешево и многоэтажно
Техасский ICON – производитель промышленных 3D-принтеров и компаньон бюро BIG – выпустил на рынок новую печатную систему. Она предназначена для строительных компаний, а не для частных пользователей. Подразумевается, что на установке Titan будут печатать быстровозводимые, качественные и относительно дешевые дома. А рядовые покупатели, пусть и не знакомые с аддитивными технологиями, смогут обзавестись доступным инновационным жильем.
Фальцевая кровля Rooflong как инженерная система
Современная архитектура предъявляет к кровельным системам значительно более высокие требования, чем это было еще несколько лет назад. Речь идет не только о защите здания от внешних воздействий, но и о сложной геометрии, долговечности, интеграции инженерных элементов и точной реализации архитектурной идеи. Так, фальцевая кровля все чаще рассматривается не как отдельный материал, а как часть комплексной оболочки здания.
Эффективные фасады из полимеров
К современным фасадам предъявляются множество требований: они должны быть одновременно легкими и прочными, гибкими и удобными в монтаже, эстетичными и пригодными для повторного использования. Полимерные композитные системы успешно справляются со всеми этими задачами, выходя далеко за рамки традиционной светотехники и стандартных форм. Эффективность выражается в снижении нагрузки на каркас, в простоте монтажа, в возможности создавать сложнейшие скульптурные оболочки. Разберем, как это работает на практике.
По второму кругу
​В Осаке разбирают «Большое кольцо» – гигантскую деревянную конструкцию, построенную по проекту Со Фудзимото для ЭКСПО-2025. Когда демонтаж завершится, древесину от «Кольца» передадут новым владельцам. Стройматериалы пойдут на восстановление домов, пострадавших от стихийных бедствий, и на строительство новых сооружений.
Архитектура потоков: узкие места в проектах логистических...
Проектирование логистических объектов – это не столько про объём, сколько про систему управляемых переходов между зонами. Значительное время работы техники теряется на ожидания, причём основные потери концентрируются не в стеллажном хранении, а в проёмах, стыках температурных контуров и зонах пересечения потоков. Разбираемся, почему реальная производительность склада определяется не характеристиками автоматизации, а временем открытия проёма, и как этот параметр закладывается в проект.
Стекло AIG в проекте Центрального телеграфа
В отреставрированном Центральном телеграфе на Тверской использованы три типа остекления AIG: для исторического фасада, кровли атриума и внутренних ограждений. Основные требования – нейтральность цветопередачи, солнцезащита без затемнения и сохранение визуальной легкости исторического объема.
Три цвета MODFORMAT на фасаде
Жилой комплекс «ЦЕНТР» в Бресте – первый в портфеле «Полесьежилстрой» проект, где фасады полностью выполнены из клинкера удлиненного формата. Квартал из пяти корпусов распродан почти на 100%, строительство продолжается. Разбираемся, что именно сработало: архитектурное решение, выбор материала или их удачное сочетание.
От модерниста – экологисту
Швейцарский архитектор Барбара Бузер получила премию Джейн Дрю 2026 года. Ежегодную премию представительницам слабого пола вручает журнал Architects′ Journal – за профессиональные достижения и «укрепление женского авторитета в профессии».
Зеленые полимеры: эволюция фасадной теплоизоляции
Современная «зеленая архитектура» – это не только про озеленение крыш и солнечные батареи. В первую очередь, это про технологии, снижающие углеродный след здания. Ключевую роль здесь играют теплоизоляционные материалы (ТИМ), позволяющие радикально сократить потребление энергии. Пенополистирол, PIR и другие материалы, которые принято называть «зелеными полимерами» за их вклад в энергоэффективность, сегодня превратились в стандарт индустрии.
Пищевые производства: логистика и температура
Будучи одними из самых сложных объектов с точки зрения внутренней организации, пищевые производства требуют не просто размещения холодильных камер и цехов, а создания системы «климатических островов» внутри здания. Главная сложность возникает в зонах проемов в условиях интенсивного движения техники и персонала. Разбираем инженерные нюансы подбора оборудования, позволяющие обеспечить герметичность без потери энергоэффективности и удобства логистики.
Тепло и форма
Энергоэффективность сегодня – не враг архитектурной выразительности. Полимерные утеплители – ЭППС, ПИР, ППУ – берут на себя нагрузку, усадку и влагу, освобождая фасад от массивных наслоений. Какой материал выбрать для фундамента, фасада и кровли, чтобы сохранить и тепло, и чистоту линий – разбираем в обзоре.
Угольная пыль вместо цемента
Ученые Пермского Политеха и УрФУ создали экологичный бетон с повышенной водостойкостью. В составе материала – тонкомолотые горелые породы, отравляющие экологию угледобывающих регионов.
Материал с характером
За последние годы продажи металлических фасадных кассет в России выросли почти на 40 % – в сегментах бизнес и премиум всё активнее спрос на материалы, которые дают архитектору свободу работать с выразительной формой, не в ущерб безопасности и сроку службы фасада. Металлокассеты стали одним из главных ответов на этот запрос. Смотрим актуальные приёмы их применения на реализованных объектах от компании «Алкотек».
Архитектура воздухообмена
В зданиях большого объема – от спортивных комплексов до производственных корпусов – формирование комфортного микроклимата связано с особыми инженерными задачами. Одной из ключевых становится организация циркуляции воздуха, позволяющая устранить температурное расслоение и обеспечить равномерные условия по всей высоте пространства.
Инновационное остекление для идеального микроклимата:...
В современной архитектуре стеклопакет приобрел множество полезных функций, став полноценным инструментом управления микроклиматом здания. Так, энергосберегающие стеклопакеты эффективно удерживают тепло в помещении, солнцезащитные – предотвращают перегрев, а электрообогреваемые сами становятся источником тепла. Разбираемся в многообразии современных стеклоизделий на примере продукции Российской Стекольной Компании.