Размещено на портале Архи.ру (www.archi.ru)

10.04.2013

Храм на холме

Объект:
Часовня Нуэстра-Сеньора-де-ла-Антигуа
Адрес:
Испания, None,
Мастерская:
Otxotorena Arquitectos

Мастерская Otxotorena Arquitectos возвела часовню Богоматери в испанской провинции Ла-Риоха.

Часовня Нуэстра-Сеньора-де-ла-Антигуа © Pedro Pegenaute
Часовня Нуэстра-Сеньора-де-ла-Антигуа © Pedro Pegenaute
Заказчиками выступили жители поселка Альберите близ Логроньо: они захотели посвятить новую капеллу почитаемому там образу Богоматери «Нуэстра-Сеньора-де-ла-Антигуа».
Часовня Нуэстра-Сеньора-де-ла-Антигуа © Pedro Pegenaute
Часовня Нуэстра-Сеньора-де-ла-Антигуа © Pedro Pegenaute

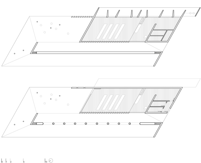
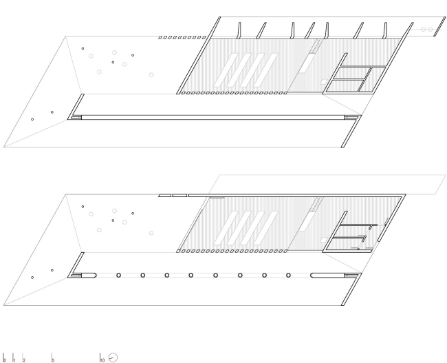
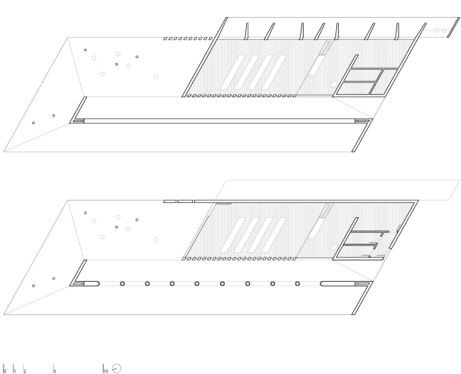
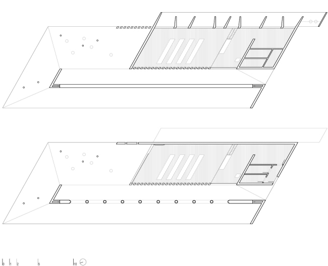
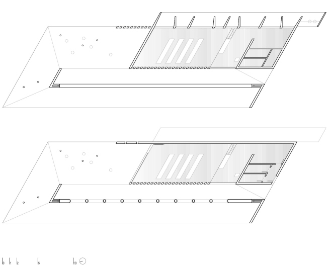
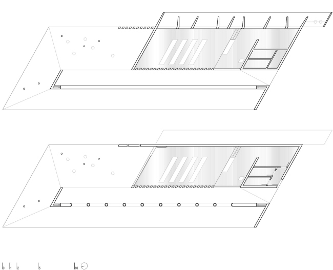
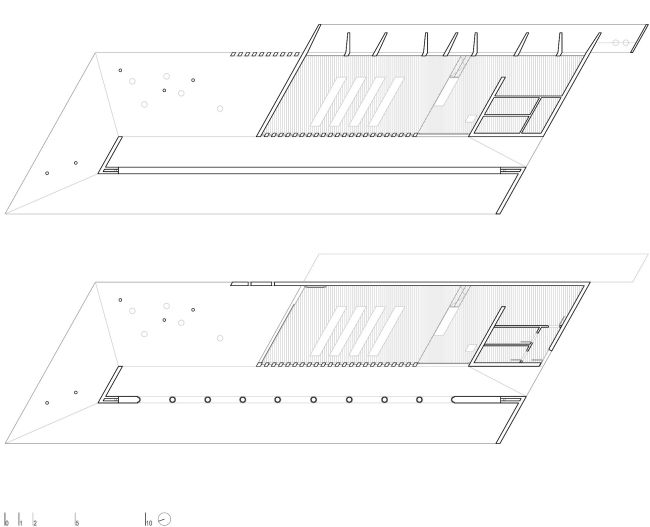
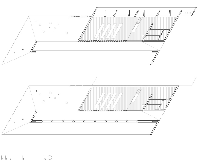
Часовня расположена на холме в окрестностях поселка, поэтому архитекторы должны были обеспечить как ее открытость панорамам Ла-Риохи, так и эффектность ее силуэта при взгляде издали. Кроме того, планировалось использовать капеллу не только для камерных богослужений, но и для проведения популярных церковных ярмарок, куда стекается много народа, поэтому здание приспособлено как для малого, так и для очень большого числа верующих.
Часовня Нуэстра-Сеньора-де-ла-Антигуа © Pedro Pegenaute
Часовня Нуэстра-Сеньора-де-ла-Антигуа © Pedro Pegenaute

Но ключевой задачей стала «интеграция» в новую постройку исторической аркады: эту аркаду спасли при сносе здания в центре Альберите и решили использовать при постройке часовни. Она и определила вытянутый характер здания, где стены и кровля подчеркнуто параллельны линии опор.
Часовня Нуэстра-Сеньора-де-ла-Антигуа © Pedro Pegenaute
Часовня Нуэстра-Сеньора-де-ла-Антигуа © Pedro Pegenaute

В качестве материала был сразу выбран бетон — за его «абстрактность, долговечность, стабильность и прочность».

Н. Ф.
Часовня Нуэстра-Сеньора-де-ла-Антигуа © Pedro Pegenaute
Часовня Нуэстра-Сеньора-де-ла-Антигуа © Pedro Pegenaute
Часовня Нуэстра-Сеньора-де-ла-Антигуа © Pedro Pegenaute
Часовня Нуэстра-Сеньора-де-ла-Антигуа © Pedro Pegenaute
Часовня Нуэстра-Сеньора-де-ла-Антигуа © Pedro Pegenaute
Часовня Нуэстра-Сеньора-де-ла-Антигуа © Pedro Pegenaute
Часовня Нуэстра-Сеньора-де-ла-Антигуа © Pedro Pegenaute
Часовня Нуэстра-Сеньора-де-ла-Антигуа © Pedro Pegenaute
Часовня Нуэстра-Сеньора-де-ла-Антигуа © Pedro Pegenaute
Часовня Нуэстра-Сеньора-де-ла-Антигуа © Pedro Pegenaute
Часовня Нуэстра-Сеньора-де-ла-Антигуа © Pedro Pegenaute
Часовня Нуэстра-Сеньора-де-ла-Антигуа © Pedro Pegenaute
Часовня Нуэстра-Сеньора-де-ла-Антигуа © Otxotorena Arquitectos
Часовня Нуэстра-Сеньора-де-ла-Антигуа © Otxotorena Arquitectos
Часовня Нуэстра-Сеньора-де-ла-Антигуа © Otxotorena Arquitectos
Часовня Нуэстра-Сеньора-де-ла-Антигуа © Otxotorena Arquitectos
Часовня Нуэстра-Сеньора-де-ла-Антигуа © Otxotorena Arquitectos
Часовня Нуэстра-Сеньора-де-ла-Антигуа © Otxotorena Arquitectos
Часовня Нуэстра-Сеньора-де-ла-Антигуа © Otxotorena Arquitectos
Часовня Нуэстра-Сеньора-де-ла-Антигуа © Otxotorena Arquitectos
Часовня Нуэстра-Сеньора-де-ла-Антигуа © Otxotorena Arquitectos
Часовня Нуэстра-Сеньора-де-ла-Антигуа © Otxotorena Arquitectos
Часовня Нуэстра-Сеньора-де-ла-Антигуа © Otxotorena Arquitectos
Часовня Нуэстра-Сеньора-де-ла-Антигуа © Otxotorena Arquitectos
Часовня Нуэстра-Сеньора-де-ла-Антигуа © Otxotorena Arquitectos
Часовня Нуэстра-Сеньора-де-ла-Антигуа © Otxotorena Arquitectos