|
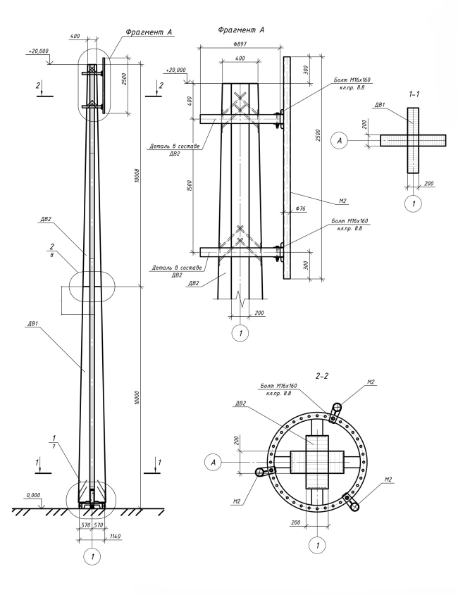
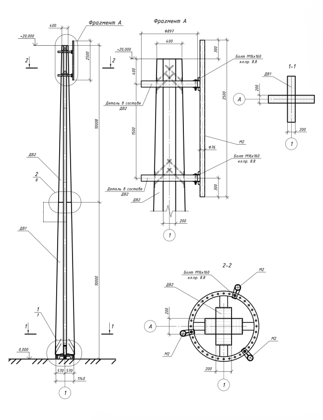
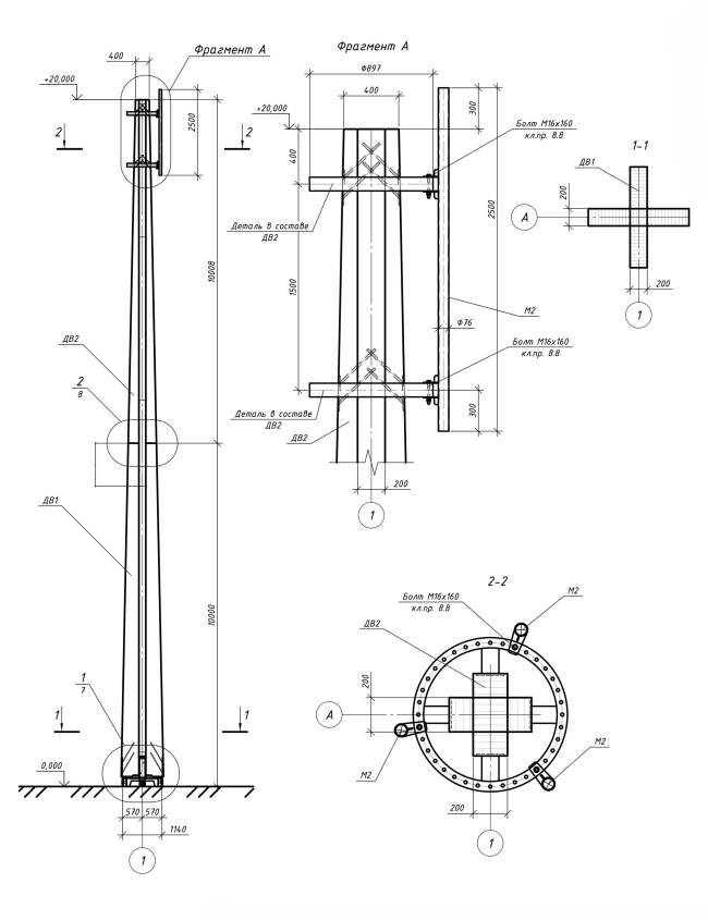
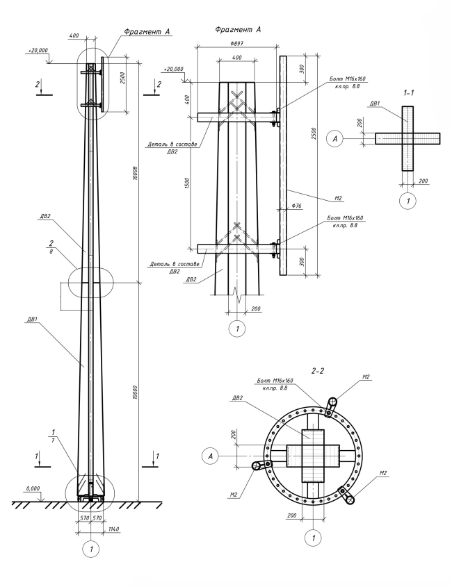
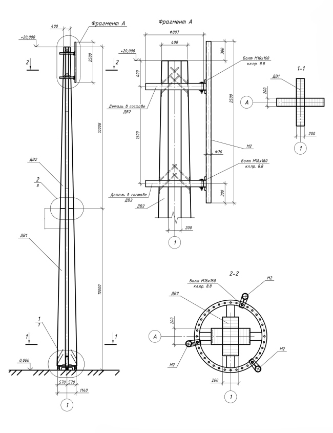
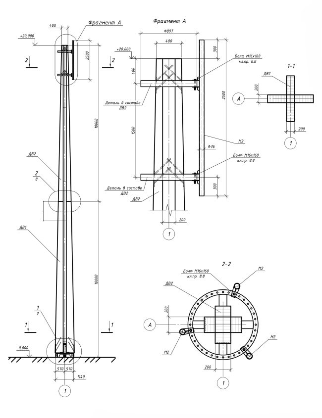
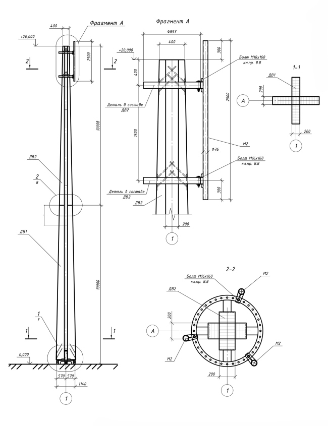
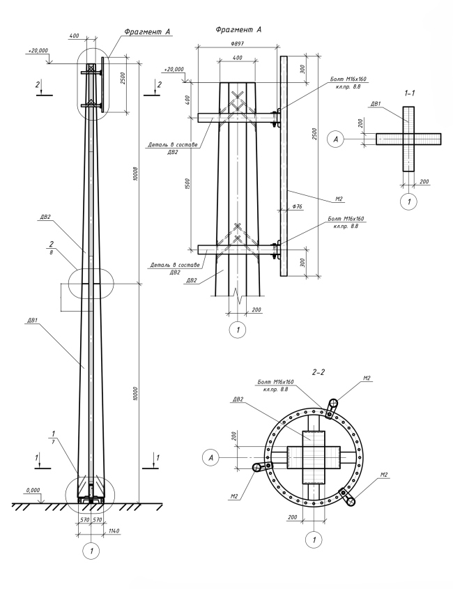
Компания «Норвекс Арт» спроектировала и построила в городе Сокол вышку сотовой связи из клееной древесины. Она легче по весу, а также дешевле и экологичнее в производстве, чем металлическая.
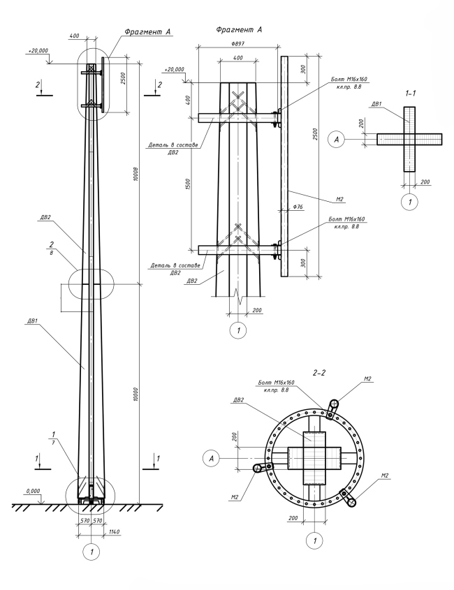
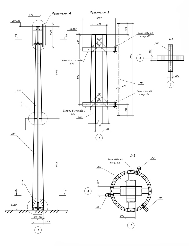
Описание предоставлено архитекторами Ежегодно России требуется тысячи новых вышек сотовой связи, в том числе в отдаленных регионах. Сокольский деревообрабатывающий комбинат (Segezha Group) создал 20-метровую мачту из клееной древесины, соединив два 10-метровых модуля. Она на 30% легче металлических, поэтому проще в доставке, а кроме того, дешевле в производстве и экологичнее – углеродный след ниже на 40%. Пилотный проект может открыть новый рынок для лесопромышленного комплекса. Возможна разработка вышек высотой 30–50 метров. Потенциальная экономия для операторов связи – 15–20%.
 Вышка сотовой связи Билайн в Соколе© Норвекс
Вышка сотовой связи Билайн в СоколеФотография © Семен Гоглев / предоставлена НорвексВышка сотовой связи Билайн в СоколеФотография © Семен Гоглев / предоставлена НорвексВышка сотовой связи Билайн в СоколеФотография © Семен Гоглев / предоставлена НорвексВышка сотовой связи Билайн в СоколеФотография © Семен Гоглев / предоставлена НорвексВышка сотовой связи Билайн в СоколеФотография © Семен Гоглев / предоставлена НорвексВышка сотовой связи Билайн в СоколеФотография © Семен Гоглев / предоставлена Норвекс
|